
SOLDANOプリに6BM8パワーを組み合わせたハイゲインミニアンプの仮組み
前回はSOLDANO型プリアンプを試作して、けっこうマニアックな解析をしてみたが、今回はそのプリアンプに小出力のパワーアンプをくっつけて「ハイゲインミニギターアンプ」にするというプロジェクトへ発展させる話である。
さ て、ミニパワーアンプ部であるが、ミニアンプというと定番では6V6や6BQ5のシングルで5Wていどというのがポピュラーだけど、それじゃ面白みがない のでちょっと変わったのにしたい。となると、12AU7や12BH7など比較的電流をたくさん流せる双三極管をプッシュプルにして2Wから5Wぐらいまで 出してやるというのが思いつく。12BH7のプッシュプルは最近、かのUSAのギターメーカーのKendrickが出しているそうで、ちょっといい感じ だ。
しかし、まあ、三極管ってのもなんなのでやっぱり五極管にしようかっていうところで思いついたのが複合管の6BM8である。6BM8は 三極管と五極管が1本に入ったもので、これ一本でオーディオアンプなら構成できてしまうという便利な真空管である。オーディオ自作キットでは売れ線定番の TU-870ってのがあるがあれが6BM8を2本使ってステレオアンプにしている。
まあ、そんなこんなで6BM8って何だかアマチュアっぽい響きがあるんだが、それがかえってSOLDANOプリアンプにつけたらミスマッチで面白いような気がして、今回はこの6BM8を使ってみることにした。
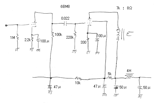
回路は次の通りで、別になんということもないそのへんに転がっている6BM8の推奨回路をそのまま使っている。

6BM8パワーアンプ部の回路図。だいたい2,3Wと思われる
写真の通り仮組みしてさっそく鳴らしてみた。ちなみに出力トランスは東栄のT-850っていう2Wシングル用の小さなのを使っている。あと電源トランスはこれは仮で、フェンダーのChamp適合トランスでUSA仕様なので1次電圧が119Vで実は100Vで使うと電圧がそこそこ落ちている。
さて、スピーカーはBlues Juniorのものをそのまま使って、ムスタングを突っ込んで弾いてみたら、なかなかいい音である。まずはVOLUMEをだいぶ絞ってなるべくクリーンっぽくなる音で弾いてみたのが以下である。
それにしても上の音源のように、VOLUMEを相当絞っても完全にクリーンにはならず歪むので、このSOLDANO型プリアンプそのものがそもそもクリーンで使う代物ではないのであろう。
お次はVOLUMEを半分ぐらいまで上げた歪みの音である。
半分でもこれなので、フルにするとやばい感じ。仮組みのせいもありフルにするとノイズがでかく壊滅的な音だ。まあ、そういう音でメタル系のリフは弾くものなのかもしれないが、メタルリフを知らないので弾けない。今度、練習して弾いて録ってみることにしよう。
まあ、それはともかく、なかなかいい音で鳴っているので、SOLDANOプリに6BM8のパワーってのも捨てたもんじゃない。ゆくゆくはきっちりと組んで製作記を書くことにしよう。
それでは!